在使用美院子物业收费系统进行治安巡更时,会查询巡更记录。在美院子物业收费系统中查询如下:
一、通过美院子工作端小程序可以查询巡更记录,小程序输入账号密码后,进入巡更管理-巡更任务里可以看到巡更记录。
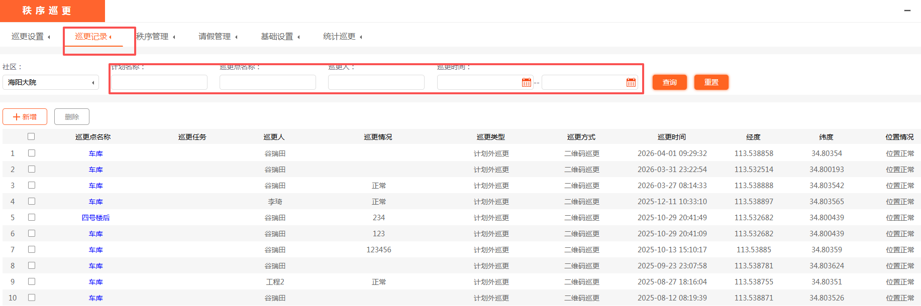
二、也可以通过美院子物业收费软件电脑端,进入治安巡更模块,找到巡更管理-巡更记录,根据计划名称、巡更点名称、巡更人、巡更时间来查询需要的数据。
美院子物业收费软件咨询请添加此微信:
您的位置:首页 > 关于美院子 > 公司新闻
如何查看巡更记录?
作者: 时间:2026-4-24 14:57:48 浏览次数:285
在使用美院子物业收费系统进行治安巡更时,会查询巡更记录。在美院子物业收费系统中查询如下:
一、通过美院子工作端小程序可以查询巡更记录,小程序输入账号密码后,进入巡更管理-巡更任务里可以看到巡更记录。
二、也可以通过美院子物业收费软件电脑端,进入治安巡更模块,找到巡更管理-巡更记录,根据计划名称、巡更点名称、巡更人、巡更时间来查询需要的数据。
美院子物业收费软件咨询请添加此微信: